液壓法蘭劈開器
分體式液壓法蘭分離器為石油化工管道液體輸送中提供了一個理想而安全的解決方案。有最大能力5T和10T兩種型號可供選擇,最大可劈開92mm 厚的法蘭盤。在劈開大直徑法蘭時也可成對使用。該機可在幾分鐘內劈開法蘭,避免在特殊工況環境下使用普通工具而產生火花的危險。更大尺 寸劈開器可以定制。
液壓法蘭劈開器特點:
- 輕型的設計便于使用;
- 從70-216mm的可調尖端寬度,應用范圍更廣單 作用RC系列千斤頂配套使用,彈簧回位,功效更高。
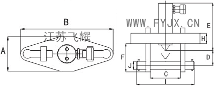
液壓法蘭劈開器技術參數:


| 型號 | 最大法蘭厚度 (㎜) | 螺栓尺寸 (㎜) | 標準楔刀 (㎜) | 承載能力 ton (KN) | 行程 (㎜) | 油容量(ml) | 尺寸(㎜) | |||||||||
| A | B | C | D | E | F | H | I | J | ||||||||
| 最大 | 最小 | |||||||||||||||
| FY-FS-56 | 57 | 19-28 | 3-28 | 5(49) | 38 | 24.6 | 76 | 210 | 70 | 155 | 33 | 108 | 88 | 25 | 208 | 19 |
| FY-FS-108 | 92 | 31-41 | 3-28 | 10(98) | 54 | 78.7 | 108 | 279 | 104 | 216 | 50 | 152 | 114 | 28 | 273 | 32 |





